2016-2022 All Rights Reserved.平安財經網.復制必究 聯系QQ 備案號:
本站除標明“本站原創”外所有信息均轉載自互聯網 版權歸原作者所有。
郵箱:toplearningteam#gmail.com (請將#換成@)
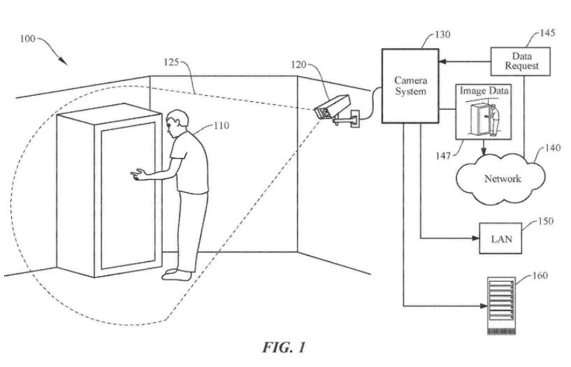
近日,據美國商標和專利局公示的最新清單,蘋果公司獲得了一項關于數據安全傳感器系統的專利,表明蘋果正在考慮開發自己的家庭安全系統。這一專利的編號為US 11682278 B2。

根據專利報告,蘋果認為近年來智能家居技術在功能和性能方面取得了巨大的進步,而新專利可以進一步提升用戶體驗,滿足個人用戶的特定需求。蘋果指出,家庭安全攝像頭的普及越來越廣泛,通過增強其功能可以更好地保護用戶的家庭安全。
除了豐富家庭安全攝像頭的功能,蘋果在專利中還專門提及了如何防止網絡攻擊,避免攝像頭成為攻擊者的監控工具。在一些實施案例中,蘋果引入了數據安全傳感器系統,用于對圖像、音頻等數據進行安全保護。此外,蘋果還提及采用專用處理器,監控和限制任何外部端口(包括I/O端口)對傳感器數據的訪問,并控制I/O端口的通信帶寬。
這一專利的獲得表明蘋果對家庭安全領域的興趣和投入,預示著蘋果可能會在未來推出自己的數據安全家庭系統。蘋果一直以用戶隱私和數據安全為重要關注點,通過引入新的安全技術和措施,希望為用戶提供更加安全可靠的智能家居體驗。
雖然該專利的獲得并不意味著即將推出具體的產品,但它顯示了蘋果在智能家居領域的積極探索和創新意圖。隨著越來越多的家庭關注數據安全和隱私保護,蘋果開發數據安全家庭系統有望滿足用戶的需求,并為智能家居行業帶來新的發展機遇。
總體而言,蘋果獲得的專利為我們展示了其在家庭安全領域的前瞻性思維和技術實力。未來,我們可以期待蘋果在智能家居領域持續發力,為用戶帶來更加安全和智能化的家庭生活體驗。
2016-2022 All Rights Reserved.平安財經網.復制必究 聯系QQ 備案號:
本站除標明“本站原創”外所有信息均轉載自互聯網 版權歸原作者所有。
郵箱:toplearningteam#gmail.com (請將#換成@)